JP-LD系列電磁流量計測量原理是法拉第電磁感應定律,傳感器主要組成部分是:測量管、電極、勵磁線圈、鐵芯與磁軛殼體。電磁流量計主要用于測量封閉管道中的導電液體和漿液中的體積流量。包括酸、堿、鹽等強腐蝕性的液體。該產品廣泛應用于石油、化工、冶金、紡織、食品、制藥、造紙等行業以及環保、市政管理,水利建設等領域。
一、產品特點:
1、測量不受流體密度、粘度、溫度、壓力和電導率變化的影響;
2、測量管內無阻礙流動部件,無壓損,直管段要求較低;
3、系列公稱通徑DN15~DN3000。傳感器襯里和電極材料有多種選擇;
4、轉換器采用新穎勵磁方式,功耗低、零點穩定。流量范圍度可達1500:1;
5、轉換器可與傳感器組成一體型或分離型;
6、轉換器采用16位高性能微處理器,2x16LCD顯示,參數設定方便,編程可靠;
7、流量計為雙向測量系統,內裝三個積算器:正向總量、反向總量及差值總量;可顯示.莊、反流量,并具有多種輸出:電
流、脈沖、數字通訊、HART;
8、轉換器采用表面安裝技術(SMT),具有自檢和自診斷功能;
二、主要技術數據:
1.整機和傳感器技術數據:
2.轉換器技術數據:
3.襯里的選擇:
4.進口保護法蘭和接地法蘭( 或接地環)的選擇:
5.電極的選擇:
三、 JP-LD系列電磁流量計儀表選型:
1.量程范圍確認:
一般工業用電磁流量計被測介質流速以2~4m/s為宜,在特殊情況下,低流速應不小于0.2m/s,高應不大于8m/s。若介質中含有固體顆粒,常用流速應小于3m/s,防止襯里和電極的過分磨擦;對于粘滯流體,流速可選擇大于2m/s,較大的流速有助于自動消除電極上附著的粘滯物的作用,有利于提高測量精度。
在量程Q已確定的條件下,即可根據上述流速V的范圍決定流量計口徑D的大小,其值由下式計算:
Q=πD2V/4
Q:流量(㎡/h) D:管道內徑 V:流速(m/h)
2.電磁流量計的量程Q應大于預計的大流量值,而正常的流量值以稍大于流量計滿量程刻度的50為宜。
3.JP-LD系列電磁流量計參考流量范圍:
4.一體式電磁流量計外形尺寸圖:
5.電磁流量計選型表:
四、電磁流量計安裝 示意圖及注意事項:
| 執行標準 | JB/T 9248—1999 | ||||
| 公稱通徑 | 15、20、25、32、40、50、65、80、100、125、150、200、250、300、 350、400、450、500、600、700、800、900、1000、1200、1400、1600、 1800、2000、2200、2400、2600、2800、3000 | ||||
| 高流速 | 15m/s | ||||
| 精確度 | DNl5~DN600 | 示值的:±0.3%(流速≥1m/s);±3mm/s(流速<1m/s) | |||
| DN700—DN3000 | 示值的±0.5%(流速≥0.8m/S);±4mm/s(流速<0.8m/S) | ||||
| 流體電導率 | ≥5uS/cm | ||||
| 公稱壓力 | 4.0MPa | 1.6MPa | 1.0MPa | 0.6MPa | 6.3、10MPa |
| DNl5~DN150 | DNl5~DN600 | DN200~DN1000 | DN700~DN3000 | 特殊訂貨 | |
| 環境溫度 | 傳感器 | —25℃—十60℃ | |||
| 轉換器及一體型 | —10℃—十60℃ | ||||
| 襯里材料 | 聚四氟乙烯、聚氯丁橡膠、聚氨酯、聚全氟乙丙烯(F46)、加網PFA | ||||
| 高流體溫度 | —體型 | 70℃ | |||
| 分離型 | 聚氯丁橡膠襯里 | 80℃;120℃(訂貨時注明) | |||
| 聚氨酯襯里 | 80℃ | ||||
| 聚四氟乙烯襯里 | 100℃;150℃(訂貨時注明) | ||||
| 聚全氟乙丙烯(F46) | |||||
| 加網PFA | |||||
| 信號電極和接地電極材料 | 不銹鋼0Crl8Nil2M02Ti、哈氏合金C、哈氏合金B、鈦、鉭、鉑/銥合金、不銹鋼涂覆碳化鎢 | ||||
| 電極刮刀機構 | DN300—DN3000 | ||||
| 連接法蘭材料 | 碳鋼 | ||||
| 接地法蘭材料 | 不銹鋼1Crl8Ni9Ti | ||||
| 進口保護法蘭材料 | DN65—DNl50 | 不銹鋼1Crl8Ni9Ti | |||
| DN200~DNl600 | 碳鋼十不銹鋼1Crl8Ni9Ti | ||||
| 外殼防護 | DNl5~DN3000分離型橡膠或聚氨酯襯里傳感器 | IP65或IP68 | |||
| 其他傳感器、——體型流量計和分離型轉換器 | IP65 | ||||
| 間距(分離型) | 轉換器距離傳感器一般不超過100m | ||||
| 電源 | 交流 | 85—265V,45—400Hz | |||||
| 直流 | 11—40V | ||||||
| 操作鍵和顯示 | 按鍵式 |
| |||||
| 磁鍵式 |
| ||||||
| 內部積算器 | 正向總量、反向總量及差值總量。 | ||||||
| 輸出信號 | 單向模擬輸出 |
| |||||
| 雙向模擬輸出 | 下限限制為。或4mA,其他同單向模擬輸出。 | ||||||
| 雙向脈沖輸出 |
| ||||||
| 雙路報警輸出 |
| ||||||
| 數字通訊 | RS232,RS485,HART | ||||||
| 襯里材料 | 主要性能 | 高介質溫度 | 適用范圍 | |
| —體型 | 分離型 | |||
| 聚四氟乙烯(F4) | 是化學性能穩定的一種塑料,能耐沸騰的鹽酸、硫酸、硝酸和王水,也能耐濃堿和各種有機溶劑。不耐三氟化氯、高溫三氟化氯、高流速液氟、液氧、自氧的腐蝕。 | 70℃ | 100℃ 150℃ (需特殊訂貨) | 1、濃酸、堿等強腐蝕性介質。 2、衛生類介質。 |
| 聚全氟乙丙烯(F46) | 同F4,耐磨性、抗負壓能力高于F4。 | 同上 | ||
| 聚氟合乙烯(Fs) | 適用溫度上限較聚四氟乙烯低,但成本也較低。 | 80℃ | ||
| 聚氯丁橡膠 | 1、有好的彈性,高度的扯斷力,耐磨性能好。2、耐一般低濃度酸、堿、鹽介質的腐蝕,不耐氧化介質的腐蝕。 | 80℃ 120℃ (需特殊訂貨) | 水、污水、弱磨損性的泥漿礦漿。 | |
| 聚氨酯橡膠 | 1、耐磨性能強。 2、耐腐蝕性能較差。 | 80℃ | 中性強磨損的礦漿、煤漿、泥漿 | |
| 法 蘭 種類 | 適 用 范 圍 |
| 接地法蘭(或接地環) | 適用于非導體管道,如塑料管道,但有接地電極的傳感器不需要。 |
| 進口保護法蘭 | 當介質有強磨損性時選用。 |
| 電極材料 | 耐 蝕 及 耐 磨 性 能 |
| 不銹鋼0Crl8Nil2M02Ti | 用于工業用水、生活用水、污水等具有弱腐蝕性的介質,適用于石油、化工、鋼鐵等工業部門及,市政、環保等領域。 |
| 哈氏合金B | 對沸點以下的一切濃度的鹽酸有良好的耐蝕性,也耐硫酸、磷酸、氫氟酸、有機酸等非氯化性酸、堿,非氧化性鹽液的腐蝕。 |
| 哈氏合金C | 能耐非氧化性酸,如硝酸、混酸、或鉻酸與硫酸的混合介質的腐蝕,也耐氧化性鹽類如:Fe,”、、Cu”下或含其他氧化劑的腐蝕,如高于常溫的次氯酸鹽溶液、海水的腐蝕 |
| 鈦 | 能耐海水、各種氯化物和次氯酸鹽、氧化性酸(包括發煙硫酸)、有機酸、堿的腐蝕。不耐較純的還原性酸(如硫酸、鹽酸)的腐蝕,但如酸中含有氧化劑(如硝酸、Fc++、Cu++)時,則腐蝕大為降低。 |
| 鉭 | 具有優良的耐蝕性和玻璃很相似。除了氫氟酸、發煙硫酸、堿外,幾乎能耐——切化學介質(包括沸點的鹽酸、硝酸和l 50℃以下的硫酸)的腐蝕。在堿中刁;耐蝕。 |
| 鉑/鈦合金 | 幾乎能耐——切化學介質,但不適用于王水和銨鹽。 |
| 不銹鋼涂覆碳化鎢 | 用于無腐蝕性,強磨損性的介質。 |
| 注: 由于介質種類繁多,其腐蝕性又受溫度、濃度、流速等復雜因素影響而變化,故本表僅供參考。用戶應根據實際情況自己做出選擇,必要時應做擬選材料的耐腐試驗,如掛片試驗。 | |
三、 JP-LD系列電磁流量計儀表選型:
1.量程范圍確認:
一般工業用電磁流量計被測介質流速以2~4m/s為宜,在特殊情況下,低流速應不小于0.2m/s,高應不大于8m/s。若介質中含有固體顆粒,常用流速應小于3m/s,防止襯里和電極的過分磨擦;對于粘滯流體,流速可選擇大于2m/s,較大的流速有助于自動消除電極上附著的粘滯物的作用,有利于提高測量精度。
在量程Q已確定的條件下,即可根據上述流速V的范圍決定流量計口徑D的大小,其值由下式計算:
Q=πD2V/4
Q:流量(㎡/h) D:管道內徑 V:流速(m/h)
2.電磁流量計的量程Q應大于預計的大流量值,而正常的流量值以稍大于流量計滿量程刻度的50為宜。
3.JP-LD系列電磁流量計參考流量范圍:
| 口徑 (DN) | 流 量 范 圍 (m)3/h | 口徑 (DN) | 流 量 范 圍 (m)3/h | 口徑 (DN) | 流 量 范 圍 (m)3/h |
| 15 | 0.4~6.0 | 150 | 40~600 | 700 | 900~12000 |
| 20 | 0.6~12 | 200 | 60~1000 | 800 | 1000~16000 |
| 25 | 1.0~15 | 250 | 100~1600 | 900 | 1200~20000 |
| 32 | 1.0~25 | 300 | 160~2500 | 1000 | 1600~25000 |
| 40 | 2.5~40 | 350 | 200~3000 | 1200 | 2500~30000 |
| 50 | 4~60 | 400 | 250~4000 | 1400 | 3000~50000 |
| 65 | 6~120 | 450 | 300~5000 | 1600 | 4000~60000 |
| 80 | 10~160 | 500 | 400~6000 | 1800 | 5000~80000 |
| 100 | 16~250 | 550 | 500~8000 | 2000 | 6000~100000 |
| 125 | 25~400 | 600 | 6000~10000 | 2200 | 7000~120000 |
4.一體式電磁流量計外形尺寸圖:
| 通徑 (DN) | L (mm) | H (mm) | 通徑 (DN) | L (mm) | H (mm) | ![]() |
| 15 | 200 | 299 | 200 | 350 | 517 | |
| 20 | 200 | 304 | 250 | 400 | 585 | |
| 25 | 200 | 312 | 300 | 500 | 627 | |
| 32 | 200 | 321 | 350 | 500 | 681 | |
| 40 | 200 | 340 | 400 | 500 | 741 | |
| 50 | 200 | 353 | 450 | 550 | 779 | |
| 65 | 200 | 369 | 500 | 550 | 834 | |
| 80 | 200 | 375 | 600 | 600 | 725 | |
| 100 | 250 | 404 | 700 | 700 | 810 | |
| 125 | 250 | 432 | 800 | 800 | 920 | |
| 150 | 300 | 461 | 900 | 900 | 1020 | |
| 200 | 350 | 517 | 1000 | 1000 | 1120 |
5.電磁流量計選型表:
| JP-LD | 電磁流量計 | ||||||||||||||||||||||||
| 口徑 (mm) | 15 | DN15 | |||||||||||||||||||||||
| 20 | DN20 | ||||||||||||||||||||||||
| … | … | ||||||||||||||||||||||||
| 2600 | DN2600 | ||||||||||||||||||||||||
| 安裝方式 | Y | 一體式 | |||||||||||||||||||||||
| F | 分體式式 | ||||||||||||||||||||||||
| 輸出信號 | I | 4~20mA | |||||||||||||||||||||||
| H | 4~20mA+HART協議 | ||||||||||||||||||||||||
| F | 頻率 | ||||||||||||||||||||||||
| R | RS485通訊 | ||||||||||||||||||||||||
| 襯里材質 | N | 氯丁橡膠(65℃以下) | |||||||||||||||||||||||
| F | 聚四氟乙烯(160℃以下) | ||||||||||||||||||||||||
| P | 聚氟乙烯(70℃) | ||||||||||||||||||||||||
| 電極材質 | 3L | 316L | |||||||||||||||||||||||
| HB | 哈氏合金B | ||||||||||||||||||||||||
| HC | 哈氏合金C | ||||||||||||||||||||||||
| Ti | 鈦 | ||||||||||||||||||||||||
| Ta | 鉭 | ||||||||||||||||||||||||
| By | 鉑銥合金 | ||||||||||||||||||||||||
| 壓力等級 | 1 | PN1.6 | |||||||||||||||||||||||
| 2 | PN2.5 | ||||||||||||||||||||||||
| 4 | PN4.0 | ||||||||||||||||||||||||
| 6 | PN6.3 | ||||||||||||||||||||||||
| 9 | PN16 | ||||||||||||||||||||||||
| 供電方式 | D | DC 24V | |||||||||||||||||||||||
| A | AC 220V | ||||||||||||||||||||||||
| 附加選項 | C | 插入式 | |||||||||||||||||||||||
| B | 防爆(ExII CT6) | ||||||||||||||||||||||||
四、電磁流量計安裝 示意圖及注意事項:
| 注意事項 | 圖例 | |||||||||||||||||||
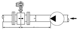
| 1.水平直管道的安裝 保證流量計的前直管段≥5D,后直管段≥3D | ![]() | |||||||||||||||||||
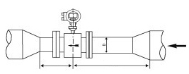
| 2.擴管的安裝: 對于小口徑大流量,擴管安裝,同時保證流量計的前直管 段≥5D,后直管段≥2D | | |||||||||||||||||||
| 3.縮管的安裝: 對于大口徑小流量,縮管安裝,同時保證流量計的前直管 段≥10D,后直管段≥5D | | |||||||||||||||||||
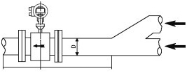
| 4.前后有彎管的安裝: 對于流量計前后有彎管的安裝,應保證流量計的前直管段≥10D,后直管段≥5D | ![]() | |||||||||||||||||||
| 5.閥 應將閥安裝在流量計的上游,同時保證流量計的前直管段≥10D,后直管段≥5D | ![]() | |||||||||||||||||||
| 6.泵 應將泵安裝在流量計的上游,同時保證流量計的前直管段≥15D,后直管段≥5D | ![]() | |||||||||||||||||||
| 7.支管進總管 對于流量計前端有兩個支管進總管時,應保證流量計的前直管段≥30D,后直管段≥3D | ![]() | |||||||||||||||||||









![[list:title]](/uploads/allimg/180722/1-1PH20U459.jpg)





